Pemmzchannel
  • NEWS
  • REVIEW
    • All
    • Components
    • Gadget
    • Game
    • Laptop & PC
    ASUS ExpertBook Ultra warna Morn Grey berbahan Magnesium Alloy dengan desain tipis dan premium di atas meja kerja.

    ASUS ExpertBook Ultra: Laptop Bisnis Tipis dengan Performa Laptop Gaming

    Laptop Axioo Hype AI 5 berwarna abu-abu terbuka di atas meja kayu di studio meja kerja.

    Review Axioo Hype AI 5: Laptop AI Termurah 2026 dengan Baterai 12 Jam!

    Laptop ASUS ProArt GoPro Edition menampilkan alur kerja kreator dengan kalibrasi warna layar dan kamera GoPro di meja.

    ASUS ProArt GoPro Edition: Monster Ringkas Incaran Kreator Kekinian!

    Laptop ASUS Zenbook S16 OLED UM5606GA di atas meja kerja dengan layar menampilkan wallpaper pegunungan

    Review ASUS Zenbook S16 OLED (UM5606GA): Performa Sadis & Garansi Paling Aman!

  • TIPS & TRICK
  • ABOUT US
No Result
View All Result
  • 11tahun
  • About PEMMZCHANNEL – Media Online Review Laptop Gaming Terdepan di Indonesia
  • About Pemmzchannel – Media Online Review Laptop Gaming Terdepan di Indonesia (old)
  • About Us
  • Advertise With US
  • ASK Pemmzchannel
  • Contact Us
  • DWQA Ask Question
  • Featured at Pemmzchannel
  • IMPORT
  • Latest Pemmzchannel Video
  • News
  • Newsletter
  • Newsletter
  • Pemmz Gr8est Surprize
  • Pemmzchannel – Media Informasi, Review Gadget & Gaming
  • Privacy Policy
  • Promo PEMMZ Yogya
  • Shortcodes
  • Submit Karya
  • Subscribe to Pemmzchannel.com
  • Tarif JNE
  • test speed page
Pemmzchannel
  • NEWS
  • REVIEW
    • All
    • Components
    • Gadget
    • Game
    • Laptop & PC
    ASUS ExpertBook Ultra warna Morn Grey berbahan Magnesium Alloy dengan desain tipis dan premium di atas meja kerja.

    ASUS ExpertBook Ultra: Laptop Bisnis Tipis dengan Performa Laptop Gaming

    Laptop Axioo Hype AI 5 berwarna abu-abu terbuka di atas meja kayu di studio meja kerja.

    Review Axioo Hype AI 5: Laptop AI Termurah 2026 dengan Baterai 12 Jam!

    Laptop ASUS ProArt GoPro Edition menampilkan alur kerja kreator dengan kalibrasi warna layar dan kamera GoPro di meja.

    ASUS ProArt GoPro Edition: Monster Ringkas Incaran Kreator Kekinian!

    Laptop ASUS Zenbook S16 OLED UM5606GA di atas meja kerja dengan layar menampilkan wallpaper pegunungan

    Review ASUS Zenbook S16 OLED (UM5606GA): Performa Sadis & Garansi Paling Aman!

  • TIPS & TRICK
  • ABOUT US
No Result
View All Result
Pemmzchannel

Apple Mematenkan Keyboard Bertombol Dinamis

by F Andre
30/12/2020
in other
A A
Share on FacebookShare on Twitter

Related Post

HyperOS

Xiaomi Rilis HyperOS 2.0, OS Baru dengan Fitur AI Canggih!

03/11/2024
POCO C75

POCO C75 Resmi Hadir di Indonesia, Harga Mulai Sejutaan!

03/11/2024

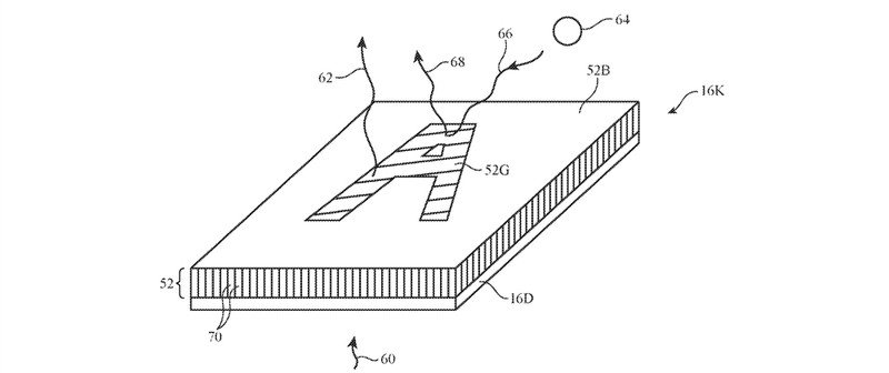
Apple saat ini sedang meneliti keyboard dengan layar kecil pada tiap tombolnya, dengan harapan tiap karakter pada tombol tersebut dapat berubah secara dinamis.

Paten tersebut, yang ditemukan dalam Patently Apple ini bertajuk, “Perangkat elektronik yang memiliki kunci dengan bundel serat yang koheren“. Paten tersebut diberikan kepada Apple oleh U.S. Patent and Trademark Office pada hari paten terakhir tahun ini.

Paten tersebut menjelaskan bahwa tiap tombol memiliki layar yang menunjukkan tiap tombol. Layar tersebut terhubung pada sirkuit kontrol di keyboard via kabel serat yang koheren.

Layar-layar pada tiap tombol nantinya bisa diubah sesuka hati pengguna. Salah satu potensi dari keyboard ini adalah kemampuan untuk mengubah dari layout QWERTY menjadi AZERTY, atau bahkan mengubah bentuk huruf seperti font yang digunakan saat mengetik. Mungkin saja pengguna justru bisa memasang gambar-gambar menarik pada setiap tombolnya.

Ada juga saran bahwa setiap tombol memberikan visual feedback yang menunjukkan status tiap tombol. Entah huruf-huruf menjadi kapital saat Caps Lock menyala, atau tombol toggle saat bermain video game.

Gambar dalam paten tersebut menunjukkan bahwa adaptive keyboard ini bisa digunakan baik di desktop maupun laptop.

Meskipun paten ini tidak selalu menjelaskan secara pasti apa yang Apple ingin bawa ke pangsa pasar, paten-paten seperti ini justru mampu memberi wawasan menari mengenai apa yang diteliti sekaligus dikembangkan oleh perusahaan tersebut. Kita bisa kilas balik penggunaan layar adaptif pada keyboard yang terdapat pada touch bar MacBook Pro.

Walaupun begitu, inovasi yang dikerjakan Apple sudah ada dan pernah dijual sebelumnya. Jika kalian belum ingat, produk tersebut bernama Keyboard Optimus Maximus.

Keyboard ini awalnya dipamerkan pada CES 2008 oleh Art Lebedev. Layaknya paten yang dibuat oleh Apple, keyboard ini memiliki layar kecil pada setiap tombol keyboard. Para pengguna bisa mengubah desain tiap tombol secara manual, bahkan menggunakan gambar-gambar unik hingga menunjukkan meteran kecil.

Keyboard Optimus Maximus saat ini sudah berhenti diproduksi. Pada situs resmi Art Lebedev sendiri, produk tersebut masih dalam proses paten. Sebelumnya, keyboard ini dibendrol harga sekitar US$ 1600 atau 22,5 Juta Rupiah.

ASUS ExpertBook P1 (PM1403) ASUS ExpertBook P1 (PM1403) ASUS ExpertBook P1 (PM1403)
Tags: AppleKeyboardMacMacbook

F Andre

Related Posts

HyperOS
other

Xiaomi Rilis HyperOS 2.0, OS Baru dengan Fitur AI Canggih!

by Daniel Fitrotirrahman
03/11/2024
POCO C75
other

POCO C75 Resmi Hadir di Indonesia, Harga Mulai Sejutaan!

by Daniel Fitrotirrahman
03/11/2024
Leica Geosystems
other

Leica Geosystems Luncurkan 3 Alat Pengukur Lahan Canggih Harga Mulai 250 Juta!

by Daniel Fitrotirrahman
03/11/2024
Next Post

Intel Alder Lake Dengan Boost Clock 17.6 GHz?!

The Robert N. Boyce Building in Santa Clara, California, is the world headquarters for Intel Corporation. This photos is from Oct. 26, 2017. (Credit: Walden Kirsch/Intel Corporation)

Terancam Apple dan AMD, Intel Harus Bertindak

Leave a Reply Cancel reply

Your email address will not be published. Required fields are marked *

ASUS ExpertBook P1 (PM1403) ASUS ExpertBook P1 (PM1403) ASUS ExpertBook P1 (PM1403)
  • Trending
  • Comments
  • Latest

Tips dan Trick : Cara Mengetahui Password WIFI dengan CMD

05/09/2019
ASUS VivoBook 14 A442U indonesia pemmzchannel FI

Baru nih, ASUS VivoBook 14 A442U – Kini dengan Intel Generasi ke-8

07/11/2017
Ini cara cek kapasitas RAM maksimal

Cara Cek Kapasitas RAM Maksimal di PC atau Laptop Windows

30/07/2021

Cara Installasi Driver GPU yang Baik dan Benar

07/02/2013

Review ASUS A451LB: Pengganti sang legenda A46CB + Tutorial Upgrade RAM

300

Cara Installasi Driver GPU yang Baik dan Benar

150
Clash of Clans

Clash of Clans : Town Hall 11 hadir sebagai update terbaru? (updated)

146
Asus A456UF

Review Asus A456UF – A Series Pertama Asus Dengan Intel Skylake

119
ASUS ExpertBook Ultra warna Morn Grey berbahan Magnesium Alloy dengan desain tipis dan premium di atas meja kerja.

ASUS ExpertBook Ultra: Laptop Bisnis Tipis dengan Performa Laptop Gaming

15/05/2026
Mengusung RAM hingga 20GB, Huawei MatePad Pro Max siap menggantikan fungsi laptop untuk produktivitas berat.

Bocoran Huawei MatePad Pro Max, Tablet Flagship dengan RAM Tembus 20GB!

14/05/2026
iPhone 17e hadir dengan profil desain yang lebih ramping dan elegan, tersedia dalam berbagai pilihan warna menarik.

iPhone 17e Resmi Meluncur di Indonesia, Harga Mulai Berapa?

14/05/2026
Bocoran desain Xiaomi 17 Max menampilkan modul kamera kotak dengan branding Leica yang menegaskan kemampuan fotografi kelas atas.

Teaser Perdana Xiaomi 17 Max Resmi Muncul, Desain Unik dengan Kamera Leica!

14/05/2026

About

Pemmzchannel adalah portal media digital informasi teknologi terbaru bagi anda para gamer, tech-geeks, review gadget, laptop dan PC desktop gaming terbaru,serta berita unik seputar dunia IT.

Categories

  • Best Pick
  • Components
  • Digital Magazine
  • Featured
  • Gadget
  • Gadgets
  • Game
  • Laptop & PC
  • News
  • other
  • Promo
  • Review
  • Tips and Trick
  • Versus

Recent Post

  • ASUS ExpertBook Ultra: Laptop Bisnis Tipis dengan Performa Laptop Gaming
  • Bocoran Huawei MatePad Pro Max, Tablet Flagship dengan RAM Tembus 20GB!
  • iPhone 17e Resmi Meluncur di Indonesia, Harga Mulai Berapa?
  • Teaser Perdana Xiaomi 17 Max Resmi Muncul, Desain Unik dengan Kamera Leica!
  • About Us
  • Privacy & Policy
  • Contact Us

© 2024 Pemmzchannel

Bottom Ad
No Result
View All Result
  • NEWS
  • REVIEW
  • TIPS & TRICK
  • ABOUT US

© 2024 Pemmzchannel